8 (351)
200-25-04
74snab@mail.ru
все контакты
Главная
О компании
Каталог
Контакты
Отправить заявку
Каталог
Соль весовая Экстра, 50кг
Огнеупорные материалы
Трубный прокат
Резинотехнические изделия. РАСПРОДАЖА!!!
Химические реагенты, вещества, соединения
Госты
ГОСТ 51574-2000 Соль поваренная пищевая
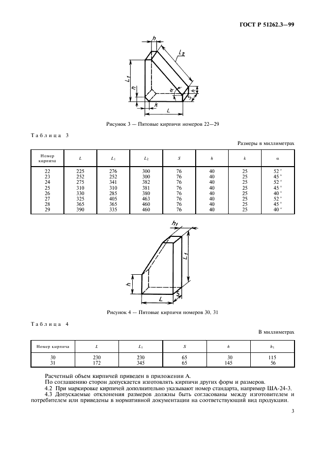
ГОСТ 51262 Изделия огнеупорные пятовые общего назначения
ГОСТ 201598-96 Изделия огнеупорные шамотные для кладки доменных печей
ГОСТ 21436—2004 Изделия огнеупорные и высокоогнеупорные для футеровки вращающихся печей
ГОСТ 2027707-2007 Огнеупоры неформованные
Каталог
Госты
/
ГОСТ 51262 Изделия огнеупорные пятовые общего назначения
/ ГОСТ 51262 Изделия огнеупорные пятовые общего назначения
ГОСТ 51262 Изделия огнеупорные пятовые общего назначения
Соль таблетированная Экстра в мешках по 25 кг
Соль техническая (концентрат минеральный галит) в МКР по 1т
ПСС пескосоляная смесь в мешках по 25 кг в наличие на складе